혁신과 도전 정신으로 미래를 위해 끊임없이 노력하는 신기 주식회사입니다.













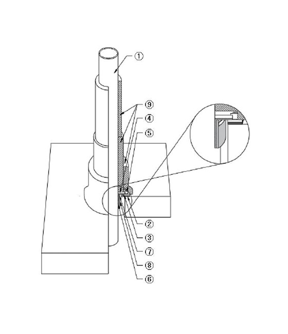
| 1 | 관통재 | 금속관 |
|---|---|---|
| 2 | Gasket | NBR |
| 3 | Base Plate | SUS 304 |
| 4 | Pipe Bracket | SUS 304 |
| 5 | Clamp | SUS 304 |
| 6 | 프레임 | 난연 실리콘 |
| 7 | 발포재 | 발포재 |
| 8 | 서스밴드 | SUS 304 |
| 9 | 차열재 | 세라믹섬유블랭킷 |
난연실리콘 프레임: UL-94 V0 등급 난연실리콘 재질의 마개. 파이프 Bracket과 Base Plate 사이에 설치되어 하부 화염과 열기를 차단
발포재: 화재 발생 시 가열되면 팽창하여, 탄화막(Char Layer)를 형성. 개구부와 파이프 사이의 빈 공간을 메꿔 하부 화염과 열기를 차단
차열재(은박 포장) : 1000℃ 이상 고온에서도 안정적인 품질을 유지하는 세라믹섬유블랭킷 초고온 내화단열재 (불연 재료). 가열면으로부터 파이프를 통해 비가열면으로 전달된 열이 2차 화재를 유발하지 않도록 파이프의 열기를 차단함.


